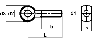
Technical data of DIN 444 A

 


values in mm


DIN 444 A
DIN 444 B (NEN 2310 B) Eye Bolt

 




[ Home | Enquiry/Order | Technical Information | News | Price Lists | Contact us | Newsletter | Sales conditions ]